125 Gomito 90°
Di norma usato dove il corrente superiore incontra il ritto di testa in configurazioni a sviluppo piano.
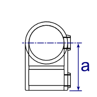
disegni tecnici e misure


| Misura | a mm |
b mm |
c mm |
d mm |
e mm |
Peso approx. Kg |
Q.tà per confezione* |
|---|---|---|---|---|---|---|---|
| A27 | 41 | 0.25 | 108 | ||||
| B34 | 46 | 0.38 | 80 | ||||
| C42 | 60 | 0.63 | 40 | ||||
| D48 | 68 | 0.74 | 30 | ||||
| E60 | 84 | 1.23 | 15 |
i tubi modello D48 sono anche noti come “tubi Innocenti” o “tubi Dalmine”
immagini prodotto



* È possibile acquistare i giunti in quantità desiderate, non necessariamente a confezioni intere.
Le quantità per confezione possono essere soggette a variazioni senza preavviso.
I dati riportati sono indicativi, pesi e dimensioni sono soggetti a tolleranze di fabbricazione e possono subire variazioni senza preavviso.
Le quantità per confezione possono essere soggette a variazioni senza preavviso.
I dati riportati sono indicativi, pesi e dimensioni sono soggetti a tolleranze di fabbricazione e possono subire variazioni senza preavviso.